IS型單級清水離心泵|防爆單級離心泵
目錄
IS型單級清水離心泵應用范圍
IS型單級清水離心泵是全國聯合設計的節能泵,它是BA型、B型及其他單級清水離心泵的更新型。優點有:全系列水力性能布局合理,用戶選擇范圍寬,檢修方便;效率和吸程達到國際平均先進水平。IS型單級清水離心泵適用于工業和城市給水、排水,也可用于農業排灌及供輸送清水或物理化學性質類似于清水的其他液體之用,溫度不高80℃。
IS型單級清水離心泵產品特點
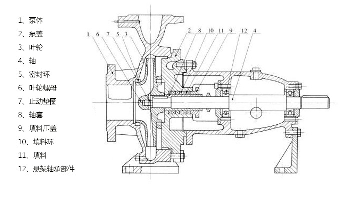
1、IS型單級清水離心泵系根據國際標準ISO2858所規定的性能和尺寸設計的,主要由泵體、泵蓋、葉輪、軸、密封環、軸套及懸架軸承不見等組成。
2、IS型單級清水離心泵的泵體和泵蓋部分,是從葉輪背面處剖分的,即通常所說的后開門結構形式。其優點是檢修方便,檢修時不動泵體,吸入管路,排出管路和電動機,只需拆下加長聯軸器的中間聯接件,即可退出轉子部分進行檢修。
3、IS型單級清水離心泵的殼體(即泵體和泵蓋)構成水泵的工作室。葉輪、軸和滾動軸承等為泵的轉子。懸架軸承部件支撐著泵的轉子部分,滾動軸承受泵的徑向力和軸向力。
4、IS型單級清水離心泵為了平衡泵的軸向力,大多數泵的葉輪前、后均設有密封環,并在葉輪后蓋板上設有平衡孔,由于有些泵軸向力不大,葉輪背面未設密封環和平衡孔。
5、IS型單級清水離心泵的軸向密封環是由填料壓蓋,填料環和填料等組成,以防止進氣或大量漏水。泵的葉輪如有平衡,則裝有軟填料的空腔與葉輪吸入口相通,如葉輪入口處液體處于真空狀態,則很容易沿著軸套表面進氣,故在填料腔內裝有填料環通過泵蓋上的小孔,將清水離心泵室內壓力水引至填料環進行密封。泵的葉輪如沒有平衡孔,由于葉輪背面液體壓力大于大氣壓,因而不存在漏氣問題,故可不裝填料環。
6、單級清水離心泵為避免軸磨損,在軸通過填料腔的部位裝有軸套保護。軸套與軸之間準有O型密封圈,以防止沿著配合表面進氣或漏水。
7、單級清水離心泵的傳動方式是通過加長彈性聯軸器與電動機聯接的,泵的旋轉方向,從驅動端看,為順時針方向旋轉。
IS型單級清水離心泵型號意義
例如:IS80-65-160A
IS型單級清水離心泵
80-吸入口直徑(mm)
65-排出口直徑(mm)
160-葉輪名義直徑(mm)
IS型單級離心泵結構說明
IS型單級離心泵符合國家標準GB5662-85等效采用--國際標準ISO2858所規定的標記性能和尺寸。主要由泵體、泵蓋、葉輪、軸、密封環、軸套及懸架軸承部件等所組成。IS型單級離心泵的殼體(即泵體和泵蓋)構成泵的工作室。揚子江泵業葉輪、軸、和滾動軸承等為泵的轉子。懸架軸承部件支承著泵的轉子部件,滾動軸承承受泵的徑向力和軸向力。為了平衡泵的軸向力,大多數泵的葉輪前、后均沒有密封環,并在葉輪后蓋板上設有平衡孔。清水離心泵的軸向密封為軟填料密封和機械密封及橡膠油封三種形式。清水離心泵的轉動方式是通過彈性聯軸器與電動機聯結的,從驅動端看,泵為順時針方向旋轉。
IS型單級離心泵結構圖
性能參數表
| 型號 | 額定流量(t/h) | 額定揚程(m) | 轉速(r/min) | 功率(kw) | 吐出錐管口徑(mm) |
| IS50-32-125 | 12.5 | 20 | 2900 | 2.2 | 50 |
| 6.3 | 5 | 1450 | 0.55 | 50 | |
| IS50-32-125A | 11.2 | 16 | 2900 | 1.5 | 50 |
| 5.6 | 4 | 1450 | 0.55 | 50 | |
| IS50-32-160 | 12.5 | 32 | 2900 | 3 | 50 |
| 6.3 | 8 | 1450 | 0.55 | 50 | |
| IS50-32-160A | 11.7 | 28 | 2900 | 2.2 | 50 |
| 5.9 | 7 | 1450 | 0.55 | 50 | |
| IS50-32-160B | 10 | 23 | 2900 | 1.5 | 50 |
| 5.4 | 6 | 1450 | 0.55 | 50 | |
| IS50-32-200 | 12.5 | 50 | 2900 | 5.5 | 50 |
| 6.3 | 12.5 | 1450 | 0.75 | 50 | |
| IS50-32-200A | 11.7 | 44 | 2900 | 4 | 50 |
| 5.9 | 11 | 1450 | 0.55 | 50 | |
| IS50-32-200B | 10.8 | 37.5 | 2900 | 3 | 50 |
| 5.4 | 9.5 | 1450 | 0.55 | 50 | |
| IS50-32-250 | 12.5 | 80 | 2900 | 11 | 50 |
| 6.3 | 20 | 1450 | 1.5 | 50 | |
| IS50-32-250A | 11.7 | 70 | 2900 | 7.5 | 50 |
| 5.9 | 17.5 | 1450 | 1.1 | 50 | |
| IS50-32-250B | 10 | 60 | 2900 | 5.5 | 50 |
| 5.4 | 15 | 1450 | 0.75 | 50 | |
| IS65-50-125 | 25 | 20 | 2900 | 3 | 65 |
| 12.5 | 5 | 1450 | 0.55 | 65 | |
| IS65-50-125A | 22.4 | 16 | 2900 | 2.2 | 65 |
| 11.2 | 4 | 1450 | 0.55 | 65 | |
| IS65-50-125B | 21 | 13.5 | 2900 | 1.5 | 65 |
| IS65-50-160 | 25 | 32 | 2900 | 5.5 | 65 |
| 12.5 | 8 | 1450 | 0.75 | 65 | |
| IS65-50-160A | 23.4 | 28 | 2900 | 4 | 65 |
| 11.7 | 7 | 1450 | 0.55 | 65 | |
| IS65-50-160B | 21.7 | 24 | 2900 | 3 | 65 |
| 10.8 | 6 | 1450 | 0.55 | 65 | |
| IS65-40-200 | 25 | 50 | 2900 | 7.5 | 65 |
| 12.5 | 12.5 | 1450 | 1.1 | 65 | |
| IS65-40-200A | 23.4 | 44 | 2900 | 5.5 | 65 |
| 11.7 | 11 | 1450 | 0.75 | 65 | |
| IS65-40-200B | 21 | 35.3 | 2900 | 4 | 65 |
| 10.5 | 8.6 | 1450 | 0.55 | 65 | |
| IS65-40-250 | 25 | 82 | 2900 | 15 | 65 |
| 12.5 | 20 | 1450 | 2.2 | 65 | |
| IS65-40-250A | 23.5 | 70 | 2900 | 11 | 65 |
| 11.7 | 17.5 | 1450 | 1.5 | 65 | |
| IS65-40-250B | 21 | 56 | 2900 | 7.5 | 65 |
| 10 | 14 | 1450 | 1.1 | 65 | |
| IS65-40-315 | 25 | 125 | 2900 | 30 | 65 |
| 12.5 | 32 | 1450 | 4 | 65 | |
| IS65-40-315A | 23.9 | 114 | 2900 | 22 | 65 |
| 11.7 | 28.5 | 1450 | 3 | 65 | |
| IS65-40-315B | 22.7 | 103 | 2900 | 18.5 | 65 |
| 10.8 | 24 | 1450 | 2.2 | 65 | |
| IS65-40-315C | 20 | 92 | 2900 | 15 | 65 |
| 10 | 22.5 | 1450 | 2.2 | 65 | |
| IS80-65-125 | 50 | 20 | 2900 | 5.5 | 80 |
| 25 | 5 | 1450 | 0.75 | 80 | |
| IS80-65-125A | 44.7 | 16 | 2900 | 4 | 80 |
| 22.4 | 4 | 1450 | 0.55 | 80 | |
| IS80-65-125B | 43.4 | 14.6 | 2900 | 3 | 80 |
| IS80-65-160 | 50 | 32 | 2900 | 7.5 | 80 |
| 25 | 8 | 1450 | 1.5 | 80 | |
| IS80-65-160A | 45 | 27 | 2900 | 5.5 | 80 |
| 23.4 | 7 | 1450 | 1.1 | 80 | |
| IS80-65-160B | 40 | 22 | 2900 | 4 | 80 |
| 21.7 | 6 | 1450 | 0.75 | 80 | |
| IS80-50-200 | 50 | 50 | 2900 | 15 | 80 |
| 25 | 12.5 | 1450 | 2.2 | 80 | |
| IS80-50-200A | 46.8 | 44 | 2900 | 11 | 80 |
| 23.4 | 11 | 1450 | 1.5 | 80 | |
| IS80-50-200B | 41.5 | 38 | 2900 | 7.5 | 80 |
| 20.5 | 9.5 | 1450 | 1.1 | 80 | |
| IS80-50-250 | 50 | 80 | 2900 | 22 | 80 |
| 25 | 20 | 1450 | 3 | 80 | |
| IS80-50-250A | 46.8 | 70 | 2900 | 18.5 | 80 |
| 23.4 | 17.5 | 1450 | 2.2 | 80 | |
| IS80-50-250B | 43.3 | 60 | 2900 | 15 | 80 |
| 20 | 15 | 1450 | 1.5 | 80 | |
| IS80-50-315 | 50 | 125 | 2900 | 37 | 80 |
| 25 | 32 | 1450 | 5.5 | 80 | |
| IS80-50-315A | 47.7 | 114 | 2900 | 37 | 80 |
| 23.8 | 28.5 | 1450 | 5.5 | 80 | |
| IS80-50-315B | 45.4 | 103 | 2900 | 30 | 80 |
| 22.7 | 25.8 | 1450 | 4 | 80 | |
| IS80-50-315C | 40 | 89 | 2900 | 22 | 80 |
| 20 | 23 | 1450 | 3 | 80 | |
| IS100-80-125 | 100 | 20 | 2900 | 11 | 100 |
| 50 | 5 | 1450 | 1.5 | 100 | |
| IS100-80-125A | 89.4 | 16 | 2900 | 7.5 | 100 |
| 44.7 | 4 | 1450 | 1.1 | 100 | |
| IS100-80-160 | 100 | 32 | 2900 | 15 | 100 |
| 50 | 8 | 1450 | 2.2 | 100 | |
| IS100-80-160A | 93.5 | 28 | 2900 | 11 | 100 |
| 46.8 | 7 | 1450 | 1.5 | 100 | |
| IS100-80-160B | 83 | 22 | 2900 | 7.5 | 100 |
| 41 | 5.3 | 1450 | 1.1 | 100 | |
| IS100-65-200 | 100 | 50 | 2900 | 22 | 100 |
| 50 | 12.5 | 1450 | 4 | 100 | |
| IS100-65-200A | 93.5 | 44 | 2900 | 18.5 | 100 |
| 46.8 | 11 | 1450 | 3 | 100 | |
| IS100-65-200B | 86.6 | 38 | 2900 | 15 | 100 |
| 43.3 | 9.5 | 1450 | 2.2 | 100 | |
| IS100-65-250 | 100 | 80 | 2900 | 37 | 100 |
| 50 | 20 | 1450 | 5.5 | 100 | |
| IS100-65-250A | 93.5 | 70 | 2900 | 30 | 100 |
| 46 | 17.5 | 1450 | 4 | 100 | |
| IS100-65-250B | 79 | 60 | 2900 | 22 | 100 |
| 41 | 15 | 1450 | 3 | 100 | |
| IS100-65-315 | 100 | 125 | 2900 | 75 | 100 |
| 50 | 32 | 1450 | 11 | 100 | |
| IS100-65-315A | 94 | 109 | 2900 | 55 | 100 |
| 47 | 27.9 | 1450 | 7.5 | 100 | |
| IS100-65-315B | 87.4 | 95.7 | 2900 | 45 | 100 |
| 43.7 | 24.5 | 1450 | 7.5 | 100 | |
| IS100-65-315C | 81 | 82 | 2900 | 37 | 100 |
| 40.5 | 21 | 1450 | 5.5 | 100 | |
| IS125-100-200 | 200 | 50 | 2900 | 45 | 125 |
| 100 | 12.5 | 1450 | 7.5 | 125 | |
| IS125-100-200A | 187 | 44 | 2900 | 37 | 125 |
| 93.5 | 11 | 1450 | 5.5 | 125 | |
| IS125-100-200B | 158 | 35 | 2900 | 22 | 125 |
| 86.5 | 9.5 | 1450 | 4 | 125 | |
| IS125-100-250 | 200 | 80 | 2900 | 75 | 125 |
| 100 | 20 | 1450 | 11 | 125 | |
| IS125-100-250A | 187 | 70 | 2900 | 55 | 125 |
| 93.5 | 17.5 | 1450 | 7.5 | 125 | |
| IS125-100-250B | 173 | 60 | 2900 | 45 | 125 |
| 86.5 | 15 | 1450 | 5.5 | 125 | |
| IS125-100-250C | 160 | 49 | 2900 | 37 | 125 |
| IS125-100-315 | 200 | 125 | 2900 | 110 | 125 |
| 100 | 32 | 1450 | 15 | 125 | |
| IS125-100-315A | 191 | 114 | 2900 | 110 | 125 |
| 95.5 | 28.5 | 1450 | 15 | 125 | |
| IS125-100-315B | 181.6 | 103 | 2900 | 90 | 125 |
| 90 | 25.8 | 1450 | 11 | 125 | |
| IS125-100-315C | 171.6 | 92 | 2900 | 75 | 125 |
| 85.8 | 23 | 1450 | 11 | 125 | |
| IS125-100-400 | 100 | 50 | 1450 | 30 | 125 |
| IS125-100-400A | 93.5 | 44 | 1450 | 22 | 125 |
| IS125-100-400B | 86.5 | 38 | 1450 | 18.5 | 125 |
| IS150-125-250 | 200 | 20 | 1450 | 18.5 | 150 |
| IS150-125-250A | 187 | 17.5 | 1450 | 15 | 150 |
| IS150-125-250B | 173 | 15 | 1450 | 11 | 150 |
| IS150-125-315 | 200 | 32 | 1450 | 30 | 150 |
| IS150-125-315A | 187 | 28 | 1450 | 22 | 150 |
| IS150-125-315B | 173 | 24 | 1450 | 18.5 | 150 |
| IS150-125-400 | 200 | 50 | 1450 | 45 | 150 |
| IS150-125-400A | 187 | 44 | 1450 | 37 | 150 |
| IS150-125-400B | 173 | 38 | 1450 | 30 | 150 |
| IS200-150-250 | 400 | 20 | 1450 | 37 | 200 |
| IS200-150-250A | 374 | 17.5 | 1450 | 30 | 200 |
| IS200-150-250B | 346 | 15 | 1450 | 22 | 200 |
| IS200-150-315 | 400 | 32 | 1450 | 55 | 200 |
| IS200-150-315A | 374 | 28 | 1450 | 45 | 200 |
| IS200-150-315B | 346 | 24 | 1450 | 37 | 200 |
| IS200-150-400 | 400 | 50 | 1450 | 90 | 200 |
| IS200-150-400A | 374 | 44 | 1450 | 75 | 200 |
| IS200-150-400B | 346 | 38 | 1450 | 55 | 200 |
| IS200-150-400C | 324 | 30.8 | 1450 | 45 | 200 |











